X
快速聯絡
諮詢專線:
線上諮詢:
或由專員為您服務,請留下
快速
聯絡

托斯卡尼向日葵山莊 竿蓁林站

新北市淡水區淡金路16巷14號

  • Uhomes
  • Uhomes
  • Uhomes
  • Uhomes
  • Uhomes
  • Uhomes
  • Uhomes
  • Uhomes
  • Uhomes
  • Uhomes
  • Uhomes
  • Uhomes
  • Uhomes
  • 相片
  • 地圖
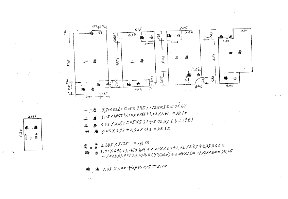
  • 建物平面圖
  • 法院拍賣公告
公告底價
2059萬
開標結果
停拍撤回
  • 公告坪數
    75.92
  • 每坪單價
    27.12

    每坪單價以法院公告坪數概算,詳細拆算方式請洽專員。

  • 開 標 日
    2026/01/08 14:30
  • 拍  次
    1拍
  • 點交情形
    點交
  • 保 證 金
    412萬
聯 絡 人
沈專員
調整字級

物件資料
公 告 坪 數
75.92
主 建 坪 數
49.88
附 屬 坪 數
9.20
公 設 坪 數
12.31
其 他 坪 數
增 建 坪 數
土 地 坪 數
34.94
車 位 坪 數
4.53
車 位 屬 性
車庫
捷 運/火 車
輕軌竿蓁林站
房 屋 類 型
別墅
結   構
RC
屋   齡
19
樓 層 別
全棟/4
房 屋 用 途
住家用
會員資訊

請登入會員查看

公告資料
拍 賣 地 點
臺灣士林地方法院
案   號
113年度司執字第105203號
拍 賣 範 圍
全部
拍 賣 原 因
清償票款
抵 押 權
抵押權拍定後塗銷
筆   錄
使用情形
(一)2858建號建物拍定後點交。88地號土地拍賣不動產應有部分,拍定後不點交。
(二)114年3月17日現場查封時,經詢問托斯卡尼向日葵山莊保全稱,已經很久未見過14號(即2858建號建物)有人進出,管理費很久未繳。114年10月20日至現場履勘時,現場一樓大門為電子鎖,經按電鈴無人應門,屋內有狗叫聲,債權人代理人當場打電話給債務人,債務人稱今天家裡沒人,他不在家。又經詢問社區管理員稱,14號有人會出來倒垃圾,也會來領信。債權人於114年10月20日具狀陳報,2858建號建物應為債務人及其家人自住使用。惟現在實際情形如何,仍請應買人自行查明注意。

備註
一、以上不動產分別標價,合併拍賣,以總價最高者得標。
二、拍賣最低價額合計新台幣:20,590,000元,以總價最高者得標。
三、保證金新台幣:4,120,000元。
四、抵押權登記拍定後塗銷。
五、投標人應自行查明債務人有無積欠管理費,並注意拍定後民法第826條之1第3項規定之適用問題。 
六、投標日期:中華民國115年1月8日第一次拍賣。(下午2時30分開始投標,3時開標。)
內容展開

本物件資訊如有遺漏,以法院公告為準。

地圖
公 告 底 價
2059
開 標 結 果
停拍撤回
  • 公告坪數
    75.92
  • 每坪單價
    27.12

    每坪單價以法院公告坪數概算,詳細拆算方式請洽專員。

  • 開 標 日
    2026/01/08 14:30
  • 拍  次
    1拍
  • 點交情形
    點交
  • 保 證 金
    412萬
聯 絡 人
沈專員

留 言